XBUS
Webasto Thermo Top Series Coolant Heater Manual and Wire Diagram
Auxiliary System
electric
xbus
March 16, 2025, 12:09am
1
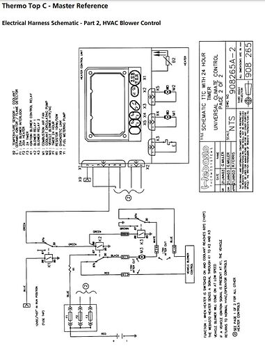
Webasto Thermo Top Series Coolant Heater Manual and Wire Diagram.
PDF download here.
image
1021×825 64.2 KB
image
768×755 78.5 KB
image
665×816 103 KB
image
667×845 79.5 KB
image
672×863 80.3 KB
image
660×865 58.7 KB
image
665×859 77.6 KB
Details see in the
PDF download here.